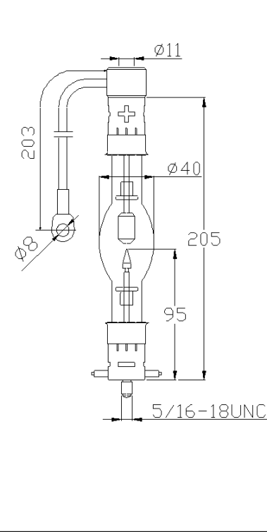
XM750HSC/G
ASL XM750HSC/G - analog short-arc lamp.
Replacement for OSRAM XBO 700W/HSC OFR, Hanovia 994C00-0010
Warranty/Life
Technical specification
Power (W) - 750Rated Current (A.D.C.) - 37
Voltage (V.D.C.) - 18
Forced Air Cooling (m/sec.) - 4-6
Cross Reference
OSRAM - XBO 700W/HSC OFRHanovia 994C00-0010
